搜索关键词:
产品名称,产品种类,型号,
测试标准或规范,生产商,技术种类,应用等等

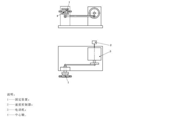
牙间刷主干耐疲劳测试仪
返回
分享到
概述:
牙间刷主干耐疲劳测试仪用于手动牙间刷主干疲劳测试。

执行标准:
GB/T 36992-2019《手动牙间刷》6.5.2 主干耐疲劳度测试
BS EN IS0 16409:2006+A1:2010
技术参数:
控制系统:PLC;
操作界面:彩色7寸触摸屏,中英文切换;
实验砝码:500±0.5g
实验速度:(30±3)次/min
摆动角度:左右(45±3)°
折曲次数:1~9999次(可设定)
基本配置:
主机一台,扳手一套,电源线一根,说明书/保修卡/合格证/铭牌一套
设备结构原理:




