技术文章文献
靴头防砸性能试验仪(重锤冲击试验机)
2024-08-08 09:27:16
本标准适用于保护足趾免受伤害的防水场所穿着的胶面防砸安全靴。
(落锤冲击试验机) 符合标准:XF 770-2008、GB21148-2020、XF 633-2006、 GB/T20991-2007 引用标准 HG3081-1999

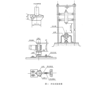
1、按键控制、
2、试验机重锤的质量为23kg士0.2kg,将试样固定在装置上,
3、按规定调整,然后使重锤自由落下,进行冲击试验,试验后,取出橡皮泥测定其高度。
4、落下高度为300mm的冲击
5、试验后,其间隙高度均不应小于15mm,

上一篇:靴头耐压性能测试仪(防砸性能试验仪)
下一篇:非织造布液体芯吸速率试验装置



