技术文章文献

引流袋流速测试工装

2026-03-20 17:34:50

分享到: 

引流袋流速测试工装、集尿袋空载泄漏测试工装、集尿袋跌落泄漏测试工装

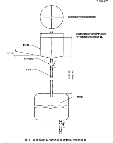
‌一、介绍

用于测试集尿袋引流袋等产品的性能,是检测该类产品是否满足要求的关键工装,广泛应用于医疗器械生产质控、研发验证及法规合规检测中。

1.png

‌二、关键参数

‌参数项‌

规格‌

测试高度

1mm-800mm  可调

贮水器

直径150mm ±2mm  亚克力材质

贮水器开关

1个

固定装置

1套

秒表

1个

测试挂钩

若干

选配

量筒

 

‌三、执行标准‌

GB/T 17257.2-2009 (集尿袋第2部分:要求和检验方法)

集尿袋空载泄漏检测、集尿袋跌落泄漏检测、引流袋流速检测

四、示意图

image.png

五、配置清单

说明书1份;

合格证1份;

保修卡1份;

签收单1份;

铭牌1块;

宣传册若干;





上一篇:角模块飞石撞击试验台
下一篇:没有了!


友情链接:
程斯智能 |上海程斯智能科技有限公司 |
上海程斯智能科技有限公司

上海程斯智能科技有限公司/东莞程斯科学仪器有限公司分公司

手机:13386202197

电话:021-57853778

邮箱:csizhinengzwg@foxmail.com

地址:上海市松江区洞业路999号1-C幢/广东省东莞市厚街镇莞太路厚街段676号17楼

©上海程斯智能科技有限公司 备案号:沪ICP备19009154号-1站点地图?

公司主要产品:鲁尔圆锥接头测试仪、针管韧性测试仪、耐碎石冲击试验机、电动划格试验仪、拉力机、隔绝式压缩氧自救器气密性测试仪

在线客服