技术文章文献
口腔灯阴影测试工装
2026-04-09 17:08:41
执行标准:
YY/T 1120-2021中7.3.8

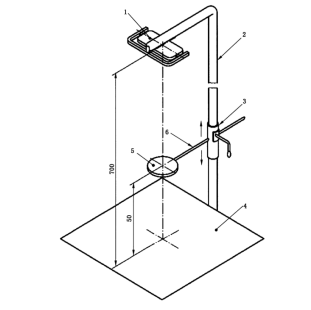
技术参数:
圆盘直径:φ 20mm (厚:1mm)
距离测量屏:50mm
测量屏:带直角坐标系
光源距屏:700mm
工装包含柱、调节用滑动环、测试屏、杆

配置清单:
工装一套,合格证一份,铭牌一份。
上一篇:制备吸水性和溶解性试样的不锈钢模具和盖子
下一篇:牙科治疗机压力损失测试仪
执行标准:
YY/T 1120-2021中7.3.8

技术参数:
圆盘直径:φ 20mm (厚:1mm)
距离测量屏:50mm
测量屏:带直角坐标系
光源距屏:700mm
工装包含柱、调节用滑动环、测试屏、杆

配置清单:
工装一套,合格证一份,铭牌一份。
上一篇:制备吸水性和溶解性试样的不锈钢模具和盖子
下一篇:牙科治疗机压力损失测试仪