搜索关键词:
产品名称,产品种类,型号,
测试标准或规范,生产商,技术种类,应用等等

牙种植体抗扭性能测试仪
返回
分享到
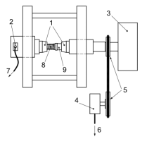
牙种植体抗扭性能测试仪、牙科扭转强力测试仪、牙科扭转测试仪
一、核心测试功能
1.抗扭性能测试
测量种植体-基台连接结构的抗扭强度,记录断裂扭矩峰值及破坏形式(如螺纹滑扣、界面分离)。
支持循环加载测试,监测长期咀嚼载荷下的扭矩衰减率。
2.紧固扭矩验证
对种植体施加规定值的紧固扭矩,保持5秒后观察变形/断裂,反向松开时松开扭矩需≥紧固扭矩的75%。
3.扩展应用
兼容根管锉、牙科手机等器械的扭力测试,分析抗弯抗扭复合性能。

二、关键技术参数

核心技术参数:
1.JING密减速机,传动稳、噪音小;
2.核心传动机构选用进口JING密导轨;
3.仪器配有水平检测装置;
4.仪器外观颜值高,美观大方、便于清洁;
5.夹具是由YOU质304不锈钢制作抛光镜面处理,经久耐用;
6.此测试项目为破坏性测试,若遇到打滑现象,可将样品打磨成三角口。

三、执行标准及应用
1.符合标准
YY 0315-2016,ISO/TS 13498试验等标准。
2.应用
用于钛及钛合金材料制成的不带表面涂层的牙种植体抗扭性能检测。
3.行业应用价值
质量控制:确保种植体连接界面稳定性,降低手术中基台松动或断裂风险。
研发优化:通过扭矩-角度曲线分析,改进种植体螺纹设计及材料硬度梯度。
合规认证:满足YY 0315-2023、ISO/TS 13498等标准,支撑NMPA注册检验。
四、测试流程
1.样品制备
种植体按临床规范组装基台,固定于仿骨模块(如PMMA树脂),确保无安装间隙。
每组试样≥5个,避免单点数据偏差。
2.测试模式选择
静态破坏测试:以1r/min匀速加载至断裂,记录ZUI大扭矩及刚度。
动态疲劳测试:设定扭矩范围循环加载,监测5000次后的性能衰减。
3.结果判定
失效标准:扭矩衰减>15%或出现可见变形/断裂。
数据输出:软件自动计算均值、变异系数及失效形式分析报告。
五、配置清单
主机1台;
测试软件1套;
说明书1份;
合格证1份;
保修卡1份;
签收单1份;
铭牌1块;
电源线1根;
扳手1套;
宣传册若干;
8mm气管2米



