搜索关键词:
产品名称,产品种类,型号,
测试标准或规范,生产商,技术种类,应用等等

引流袋流速测试工装
返回
分享到
引流袋流速测试工装、集尿袋空载泄漏测试工装、集尿袋跌落泄漏测试工装
一、介绍
用于测试集尿袋引流袋等产品的性能,是检测该类产品是否满足要求的关键工装,广泛应用于医疗器械生产质控、研发验证及法规合规检测中。
二、关键参数
参数项 | 规格 |
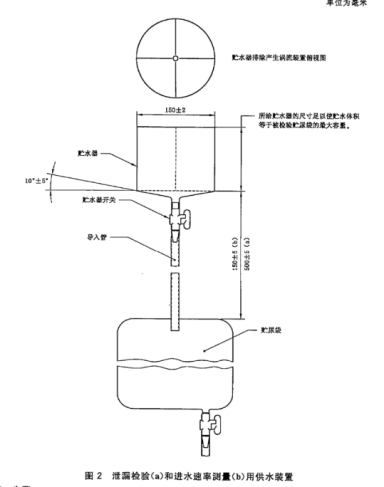
测试高度 | 1mm-800mm 可调 |
贮水器 | 直径150mm ±2mm 亚克力材质 |
贮水器开关 | 1个 |
固定装置 | 1套 |
秒表 | 1个 |
测试挂钩 | 若干 |
选配 | 量筒 |
三、执行标准
GB/T 17257.2-2009 (集尿袋第2部分:要求和检验方法)
集尿袋空载泄漏检测、集尿袋跌落泄漏检测、引流袋流速检测
四、示意图

五、配置清单
说明书1份;
合格证1份;
保修卡1份;
签收单1份;
铭牌1块;
宣传册若干;



